关于梳理汇总贵阳市中高风险区的公告(2022年9月19日)
来源:贵州健康报 时间:2022-09-19 浏览次数:
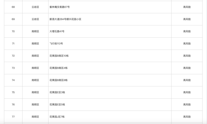
为及时根据当前疫情防控形势,为快速有效阻断疫情传播,实现科学精准防控,切实保障辖区内群众生命安全和身体健康,按照《新型冠状病毒肺炎防控方案(第九版)》相关规定,我市分别于2022年9月2日、9月4日、9月6日、9月12日、9月13日、9月14日、9月15日、9月16日、9月18日对中高风险区进行了划定和调整。为了便于人民群众查询掌握,便于各级各部门开展疫情防控工作,扎实筑牢联防联控、群防群控严密防线,省市联动指挥部对贵阳市现有中高风险区进行了整理。经整理,我市共有高风险区142个,中风险区77个,现特将具体名单面向社会公告。
公告后的中高风险区域范围及管控要求将根据疫情形势变化适时调整。
附件:
1.贵阳市高风险区一览表(2022年9月19日)
2.贵阳市中风险区一览表(2022年9月19日)
贵阳市疫情防控现场处置
省市联动指挥部
2022年9月19日























(稿件来源:贵阳市卫生健康局)
实习编辑:向 烨
编 辑:魏小林
二 审:毕 锋
三 审:赵 亮